
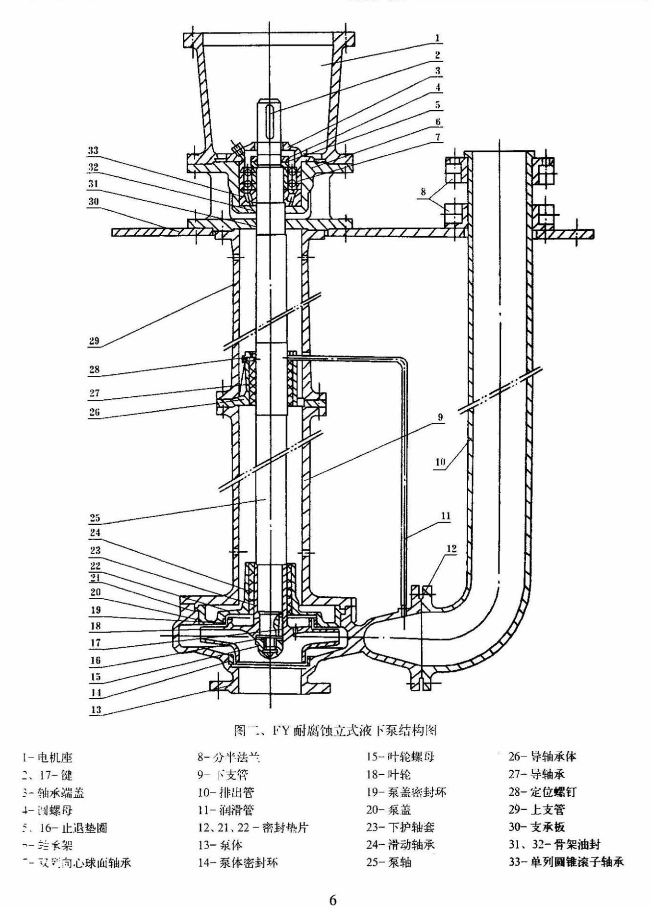
FY型不锈钢耐腐蚀液下泵是本厂在传统耐腐蚀液下泵基础上,经改进设计而生产的新型泵;该泵取消了其他液下泵普遍采用的机械密封和选用了独特结构的叶轮,使泵节能、无泄漏、使用时间长,广泛应用于石油、化工、制药、造纸、冶金、污水处理等行业。
FY型不锈钢耐腐蚀液下泵参数范围:
流量Q 3.27-100.8m3/h
扬程H 13-40m
FY型不锈钢耐腐蚀液下泵型号说明:
例:50FY-25;
25-泵扬程;
50-泵吸入口径;
FY-耐腐蚀液下泵,液下耐腐蚀泵。
FY型不锈钢耐腐蚀液下泵使用条件:
1、被输送介质温度为-20-140℃;
2、铸铁材质的泵,介质PH值在5-9范围内;
3、采用开式叶轮的泵,被输送液体中含有的固体颗粒直径以不超过泵吸人口直径30%为宜。

